Home

Join the ACG

Help and Frequently Asked Questions

Argus Camera Reference Photographs

Argus Accessory Reference Photographs

Argus Sales & Demo Items

Argus Prototypes

Modified Argus Cameras

Argus Instruction Manuals

Argus Sales Brochures

Argus Camera Surveys

Argus Books

Argus Informational Documents

ACG Contests and Events
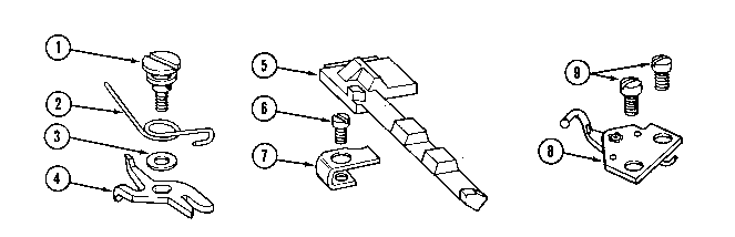
Argus C44R Parts Guide:  Bulb Latch, Reset Rod, Toggle Plate


FIGURE    PART#    DESCRIPTION               NO. REQ.
                          
1         20487    Bulb Latch Screw          1
2         20384    Bulb Latch Spring         1
3         20500    Bulb Latch Washer         0-3
4         20486    Bulb Latch                1
5         21415    Reset Rod                 1
6         90252    Reset Rod Spring Screw    1
7         23197    Reset Rod Spring          1
8         21849    Toggle Plate Assembly     1
9         90207    Toggle Plate Screw        2